一、事項名稱:我要申請殘疾人危房改造補助
二、受理對象:貧困殘疾人家庭
三、申請材料
除特別說明之外,材料均為一式一份。
1、居民身份證(復印件)
2、戶口本(復印件)
3、殘疾人證(原件)
4、農村危房改造申請書(原件)
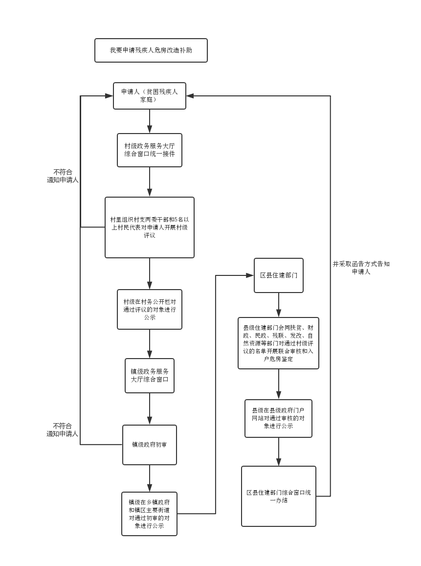
四、辦事指南流程圖

五、辦結時限(45個工作日)
審批時限為45個工作日(另:三級公示21天)
六、辦理層級
村、鄉鎮、縣級
七、收費依據及標準
不收費。
八、結果送達
自核準之日起2日內送達
送達方式:現場自取、快遞送達
九、咨詢電話:
市政務中心:0746-8533271、8533270
冷水灘區政務中心:0746-8219575(導辦臺)、0746-8360991(市場主體設立)0746-8416689(食品藥品)
零陵區政務中心:0746-6332118,6332117
祁陽縣政務中心:0746-3263666
東安縣政務中心:0746-4239377
雙牌縣政務中心:0746-7726211
道縣政務中心:0746-5216066
寧遠縣政務中心:0746-7236385
新田縣政務中心:0746-4718332
藍山縣政務中心:0746-2219320
江永縣政務中心:0746-5755405
江華縣政務中心:0746-2332361
金洞管理區政務中心:0746-3858179
回龍圩管理區政務中心:0746-5911003
永州經開區政務中心:0746-8229117
十、監督投訴渠道:
投訴電話:0746-12345
網上投訴:0746-12345
十一、辦公地址和時間
辦理地址:
市政務中心:冷水灘區逸云路1號。
冷水灘區政務中心:湖南省永州市冷水灘區九嶷大道與湖塘路交叉路口,冷水灘區中小企業創新創業園一樓。
零陵區政務中心:零陵區萍洲中路100號(二樓“一件事一次辦”綜合窗口)。
祁陽縣政務中心:祁陽縣浯溪街道辦事處燈塔路1號。
東安縣政務中心:東安縣白牙市鎮車站路133號。
雙牌縣政務中心:雙牌縣瀧泊鎮雙電路新人社大樓5樓。
道縣政務中心:道縣道州北路工業大道1號。
寧遠縣政務中心:湖南省永州市寧遠縣印山中路88號寧遠縣政府大院寧遠縣政務服務中心。
新田縣政務中心:新田縣龍泉鎮龍泉路108號。
藍山縣政務中心:藍山縣工業園科技路標準廠房二棟。
江永縣政務中心:千家峒路27號(縣委政府大院內)。
江華縣政務中心:湖南省永州市江華瑤族自治縣沱江鎮陽華路146號。
金洞管理區政務中心:金洞鎮人嶺街5號。
回龍圩管理區政務中心:湖南省江永縣回龍圩鎮回龍圩管理區辦公樓政務服務中心。
永州經開區政務中心:永州經開發區中小企業創業園(瀟湘科技創新中心)一樓政務大廳“一件事一次辦”3、4號窗口。
備注:冷水灘區、零陵區、永州經濟技術開發區各市場監管所均可辦理。
辦理時間:
上午:9:00---12:00,下午13:00---17:00

湘公網安備:43010302000524號

繼續訪問